承盟企業社 ChenMo
Menu ☰
首頁
鋁擠型
半導體設備項目
無塵工作亭
感應器軌道
滑台產品
產品相簿
檔案下載
聯絡我們
首頁
>
鋁擠型
簡介
>
角度連接
件
6系列
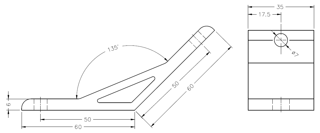
角度連接件
型 號:DAL13525-6 另有DAL3025-6 DAL6025-6
材 質:A6063S-T5
表 面:陽極-電著處理
用 途:1.連接六系列 2.連接角度135度 3.配合DAL4525-6
型 號:DAL4525-6
材 質:A6063S-T5
表 面:陽極-電著處理
用 途:1.連接六系列 2.連接角度45度 3.配合DAL13525-6
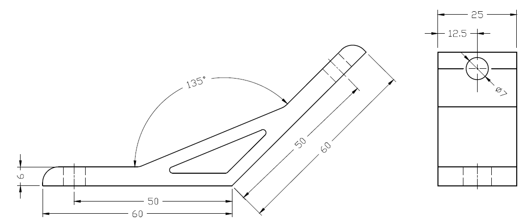
8系列
角度連接件
型 號:DAL13535-8 另有DAL3035-8 DAL6035-8
材 質:A6063S-T5
表 面:陽極-電著處理
用 途:1.連接8系列 2.連接角度135度 3.配合DAL4535-8
型 號:DAL4535-8
材 質:A6063S-T5
表 面:陽極-電著處理
用 途:1.連接8系列 2.連接角度45度 3.配合DAL13535-8
技術資料
螺絲螺母
Email :
chenmo6688@gmail.com
公司地址 : 桃園市大溪區仁和六街59號 TEL : 03-389-6269 FAX : 03-380-9028